全球网站

0769-86860520
您当前的位置:首页  »  技术与支持
技术与支持

怡斯麦变压器绕线机软件设计原理

发布时间:2014-12-22 9:20:3  浏览:

全自动绕线机PLC软件系统由系统程序和用户程序两部分组成。系统程序包括监控程序、编译程序、诊断程序等,主要用于管理全机、将程序语言翻译成机器语言、诊断机器故障。

全自动绕线机

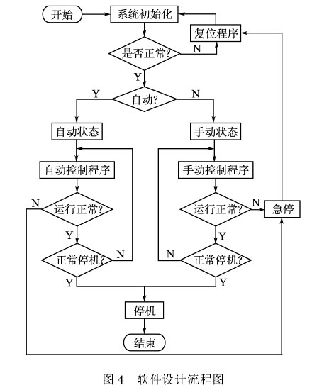
1、 全自动绕线机软件设计流程图

如图4所示为全自动绕线机系统的软件设计流程图。绕线机系统启动后,先进行系统的初始化,对数据寄存器和通用寄存器进行清零,然后进入执行程序,如果正常则继续判断是手动运行还是自动运行,否则,进入复位程序,重新进行初始化。在判断进入自动情况下,则生产线全自动运行,运行正常则直到正常停机信号发出才停机,如果遇到非正常运行信号则转入急停;在手动情况下,则按照设定的手动运行程序,由操作人员发出运行指令,运行正常则直到正常停机信号发出才停机,如果遇到非正常运行信号则转入急停,手动状态多用于检修和调试。无论是自动状态还是手动状态,遇到正常停机信号,则停止执行程序,程序结束,PLC停止扫描。

全自动绕线机软件设计流程图

2、 PLC与外围设备的通信

在本系统中,PLC通过RS-485与变频器和伺服放大器进行数据通信,传递控制信号;通过RS-422与触摸屏进行通信,传递实时的修正数据与参数设置。

(1) PLC与伺服放大器的通信

PLC与外部设备通信时,首先要设定数据长度、有无奇偶校验、有无停止位、波特率等参数。

在PLC中由数据寄存器D8120设定,具体的数据含义见表1。

 PLC与伺服放大器的通信

  在PLC与伺服放大器的通信程序中,当触摸屏修改参数l,传递给PLC,在PLC内部经过运算,将结果通过RS-485传递给伺服放大器。

 

(2) PLC与变频器的通信

为使变频器和PLC通过RS-485进行通讯,必须对通信参数进行设定。数据寄存器D8120设定为0C87H,而在变频器中与串行通信相关的参数也要设定。本设计中相关参数设置见表2。

  通过特殊继电器M8161来选择数据处理为16位模式,还是8位模式。当M8161=0时为l6位模式;当M8161=1时为8位模式。在本设计中选择8位模式。设置好相关的参数用RS指令存储到D8120中,具体的程序如图5所示。

 PLC与变频器的通信

  从PLC到变频器通信请求数据为12位,通信数据格式如图6所示。

 通信数据格式

  例如:频率写入指令代码HED,其数据长度为4位,在传送数据时,要使数据转换为ASCII码。频率写入变频器后,电动机不能够运转,如要求电动机转动,必须向变频器写入一个运行指令HFA,该指令能实现电动机正、反转和停止。

程序中RS指令用于FX系列PLC,实现PLC与外围设备间的数据传送和接收。PLC与变频器的通信可以分为3个阶段:1)变频器的通信请求;2)变频器的响应阶段;3)PLC对返回数据的响应阶段。在通信的各个阶段,由于指令代码的不同、返回数据的不同,通信格式也不同。要求电动机运转,常用指令代码为HED(运行频率的写入)、H6F(输出频率)和HEA(电动机运行指令),PLC和变频器通讯时,使用16进制数,数据在它们之间自动使用ASCII码传输。

(3) PLC与触摸屏的通信

PLC与触摸屏通信采用RS-422,本系统选用GT1020触摸屏。GTDesigner2是GT10系列触摸屏应用画面的专用开发软件,可以对触摸屏画面进行设置,编辑参数修改画面和运行状况监控画面,以及设定PLC相对应的通用寄存器和数据寄存器。通过GT Designer2将参数设置为波特率9 600 b/s、数据长度7位、1位停止位、偶校验。

 

通信线缆采用触摸屏的专用线缆GT10-C30R4-8P,线缆长度为3 m,满足工程实际中的需要。此线缆是可以直接连接FXCPU或者FX通信功能扩展板。

本系统利用先进的变频控制和伺服系统,改变了传统的变压器绕线机结构的机械耦合传动模式,克服了传统机械结构复杂、体积大和噪声大的缺点;加入直观的触摸显示,实现实时的参数修改。伺服系统可实现高精度的卷绕,提高产品质量;并对RS-485通信进行了研究,利用RS-485总线和触摸屏实现控制信号传输和状态监控,简化了硬件设计,降低了成本,提高了系统的抗干扰能力。本系统相比传统控制系统的改进之处如下。

1)采用伺服控制,实现了工艺参数和规格变化下的柔性调整与控制,降低了机械磨损,延长了使用寿命。利用变频器控制交流异步电机,实现卷绕过程恒张力控制。

2)采用RS-485通信,降低了硬件设计的复杂程度,提高了现场操作人员的可操作性,使系统的维修与调试更加方便。设计人机界面软件则实现卷取工艺的柔性化调整和实时监控。

3)加工范围广,绕组线径截面宽度l可以根据生产需要随时进行调整。

新系统的应用,实现了生产过程的自动化和高效化,具有广泛的应用前景,稍加改进和完善后,可以直接应用到造纸、包装、带材等不同领域的卷绕排线控制。通过实践证明该设计具有控制精度高,适应性强,稳定可靠的优点。

 

  相关信息
esm

返回首页 | 网站地图 | 联系我们 | 邮箱登陆

©2001- (中国)网站首页 . 粤ICP备19119446号-1